About The
Wearable

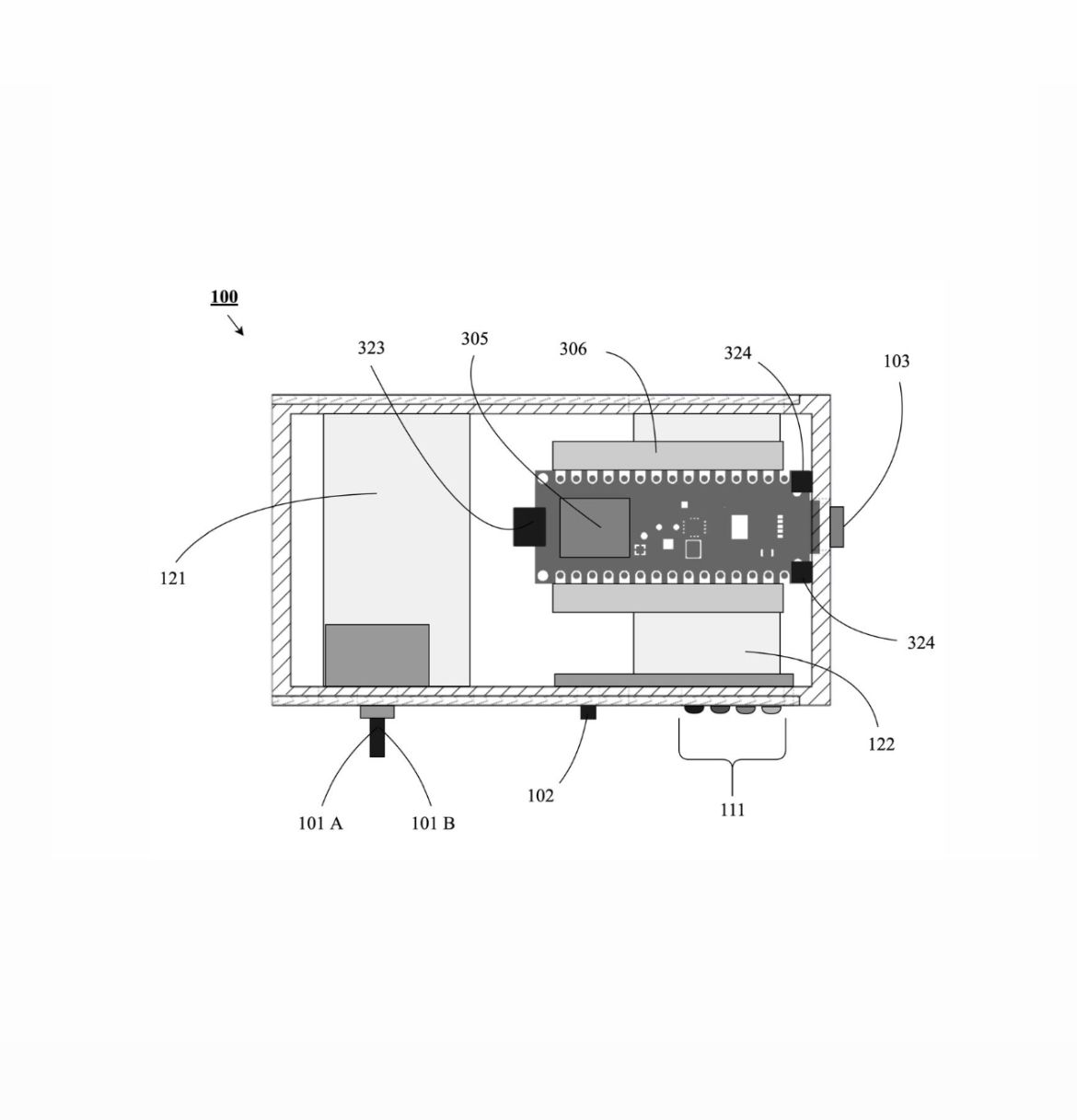
PRODUCT DETAILS

How It Is Made ?

  • Lightweight, durable materials with breathable straps ensure comfort and a secure fit.
  • IMU sensors with gyroscopes and accelerometers provide precise motion tracking.
  • An onboard microcontroller converts motion data into actionable insights.
  • Rechargeable batteries offer extended use, with LED indicators for status updates.
  • Water-resistant casing protects against sweat, water, and dust for reliability.
  • Bluetooth enables stable, wireless connection for seamless progress tracking.
Unique Image
Unique Image

How It Is Made ?

  • Lightweight, durable materials with breathable straps ensure comfort and a secure fit.
  • IMU sensors with gyroscopes and accelerometers provide precise motion tracking.
  • An onboard microcontroller converts motion data into actionable insights.
  • Rechargeable batteries offer extended use, with LED indicators for status updates.
  • Water-resistant casing protects against sweat, water, and dust for reliability.
  • Bluetooth enables stable, wireless connection for seamless progress tracking.

How It Works ?

  • Each wearable integrates advanced IMU sensors to track angular velocity, acceleration, and orientation, ensuring precise movement analysis during exercises.
  • Real-time motion data is processed by an embedded microcontroller, converting raw metrics into actionable insights.
  • Bluetooth technology facilitates seamless wireless transmission of processed data to the companion web application.
  • The application employs sophisticated Machine Learning algorithms to benchmark movements against a curated library of standard exercise templates.
  • Real-time feedback provides accuracy scores and tailored recommendations to enhance technique and performance.
Unique Image

Application / Use Cases

  • Optimizes workouts with real-time form feedback, preventing injuries and maximizing training effectiveness.
  • Tracks patient recovery and exercise adherence, providing data-driven insights for therapists.
  • Analyzes athletic movements to optimize technique and benchmark performance against standards.
  • Assesses workplace ergonomics, identifying risks and providing data-driven safety recommendations.
Unique Image
Unique Image

Application / Use Cases

  • Optimizes workouts with real-time form feedback, preventing injuries and maximizing training effectiveness.
  • Tracks patient recovery and exercise adherence, providing data-driven insights for therapists.
  • Analyzes athletic movements to optimize technique and benchmark performance against standards.
  • Assesses workplace ergonomics, identifying risks and providing data-driven safety recommendations.

How to Use It?

  • Step 1: Strap the wearables to your wrist and ankle, ensuring proper alignment.
  • Step 2: Turn on the devices. LEDs indicate battery status: Green (Full), Yellow (Moderate), Red (Low).
  • Step 3: Open the web-application and pair via Bluetooth. LEDs indicate: Red (Disconnected), Yellow (Pairing), Green (Paired).
  • Step 4: Select an exercise, number of reps and start.
  • Step 5: Review metrics and feedback in the app to improve.
Unique Image